产品知识

news

卧式液压与立式液压动力单元规格尺寸

2024/4/17 9:34:35 来源: 德赢VWIN液压

(一)立式液压包规格尺寸
卧式液压动力单元尺寸

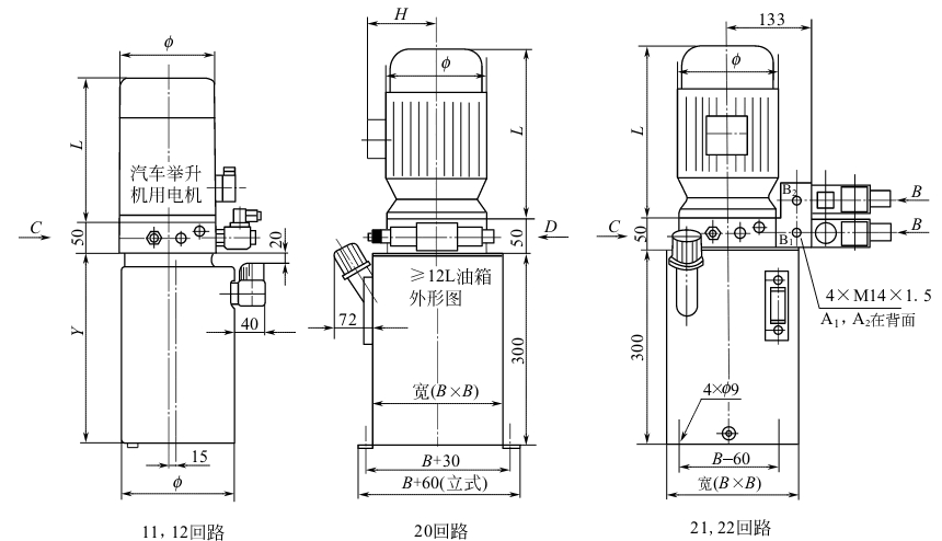
(二)立式、挂式液压包外形尺寸

立式、挂式液压动力单元尺寸

    卧式液压包是用阀块将电机和油箱左右连接在一起。安装时用阀块C向侧面的2个M10深15mm的安装螺孔将其固定。卧式油箱有3L、5L、7.5L和10L四种容积。
    立式液压包是用阀块将电机和油箱上下连接在一起,安装时用油箱底脚的4个∮9通孔将其固定。立式油箱有12L、16L、20L、25L、30L五种容积。不随机移动的立式液压包也可直接放置在平整的地板上。
    挂式液压包是利用阀块C向侧面的2个 M10深15mm的安装螺孔将卧式和立式液压包悬挂起来的安装方式。卧挂式油箱是将卧式油箱直油口更换成90°油口,使油箱油口保持向上,并高于油液平面﹔立挂式油箱是立式油箱不带安装底脚。其余外形及尺寸与卧式和立式完全相同。
    参照液压原理图,用清洁的管路、接头把液压包油口与执行元件正确连接起来